
工业废水处理、生活废水处理、医疗废水处理以及市政污水处理、农村污水处理、地埋式污水处理设备、涡凹气浮机、溶气气浮机、格栅机、自动加药机、一体化污水处理设备厂家设备就找青岛乐中环??萍加邢薰?。
今天乐中环保科技要分享的是扩散板曝气气浮~
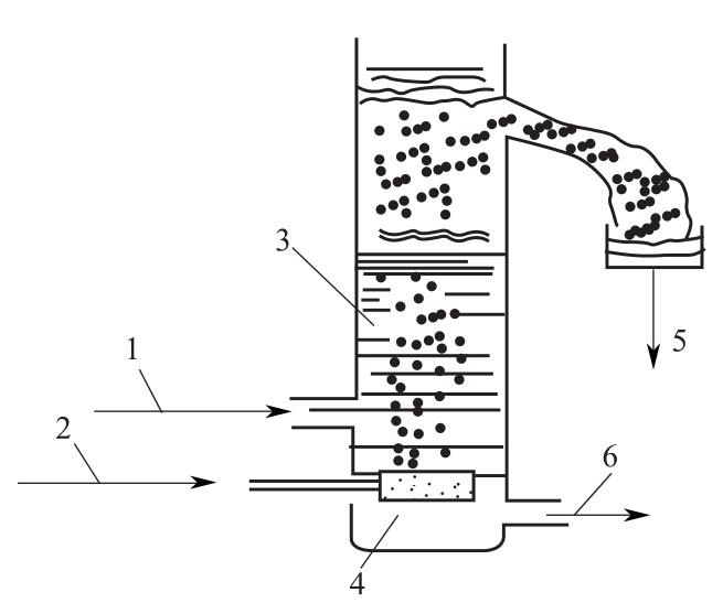
曝气气浮一般采用鼓风机将空气直接送至气浮池充气器,形成细小气泡进入污水中。充气器一般用扩散板、穿孔板或微孔管等,曝气压力在1kg/cm2,空气量2-3m3/m3水。扩散装置的微孔不宜过小,否则易于堵塞;而微孔板孔径过大,必须投加表面活性剂,方可形成可利用的微小气泡,从而导致该种方法使用受到限制。近年研制、开发的弹性膜微孔曝气器克服了扩散装置微孔易堵或孔径大等缺点。扩散板曝气气浮示意图见下图。
环保工程师联系电话:
15244289576 韦工程师

